涉嫌碰瓷?林清轩与香奈儿的“红山茶花之争”
涉嫌碰瓷?林清轩与香奈儿的“红山茶花之争”
南方财经全媒体集团记者 卢陶然 北京报道
“红山茶花”之战还在持续发酵中。
1月7日,针对国货美妆林清轩创始人孙来春炮轰法国奢侈品牌香奈儿一事,香奈儿发布声明回应称:“20多年来,香奈儿与全球知名专家和合作伙伴一起,引领着一项规模宏大的、专注于山茶花美妆产品的研究。”香奈儿在一份声明中强调品牌在法国戈雅克(Gaujacq)拥有专属山茶花种植园和植物分析实验室。
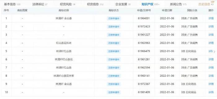
1月14日,根据公开数据,林清轩品牌实体经营公司上海林清轩生物科技有限公司在2022年1月6日申请注册了18项商标,其中包括“林清轩红山茶”、“林清轩红山茶花”、“红山茶花抗老”、“林清轩金山茶”、“林清轩红山茶花世家”、“林清轩白山茶花”等等,国际分类均为广告销售或日化用品,目前商标状态为申请中。

(图说:林清轩注册18项“山茶花”相关商标 图源:企查查)
1月13日及14日下午,21Style拨打了林清轩官网的售后服务热线,截至发稿仍未接通;其官网的在线客服处于“忙碌状态”,尚未得到回复。
14日下午,21Style走访了林清轩在北京市朝阳区的专柜店。高德地图显示了多个位置,但记者发现其在望京和新奥的两家专柜已经停止了营业。记者询问了望京店某国际高端美妆品牌的专柜人员,她们向记者表示“两个月前林清轩就撤走了。”
与香奈儿的山茶花之战
“山茶相对花谁栽,细雨无人我独来。说似与君君不见,烂红如火雪中开。”
这是苏轼吟咏的山茶花,因其深冬开花,又名耐冬。又因山茶花大而艳,多为红色,有“冷胭脂”、“雪里娇”、“赤玉环”之美称。
具有落雁之姿的中国四大美人之一王昭君,当初被汉元帝下嫁匈奴以为和亲。流传后世的昭君出塞图,就是身披雪白毛裘,怀抱一具琵琶,发鬓簪着一朵红艳的山茶花。
香奈儿女士对山茶花也情有独钟。某日在法国西北诺曼底埃特雷塔的海边,香奈儿女士随兴将山茶花别在她的条纹衬衫腰带上。
这朵山茶花近日在美妆界激起了千层浪。
2022新年初始,国产品牌林清轩就迎来了“事关中国第一个高端化妆品品牌生死”的战斗。

(图说:林清轩创始人发起“红山茶花保卫战” 图源:新浪微博)
1月3日,国产美妆品牌“林清轩”的一则长文登上某社交平台的热搜。其创始人孙来春在文中指出,香奈儿不仅挖走多位林清轩一线员工,还“预谋”转入红山茶护肤赛道。
“这是林清轩创业以来,受到的最猛烈的进攻,这场保卫战,事关林清轩生死,也事关中国第一个高端化妆品品牌是否能脱颖而出,于国于企,没有退路,对于中国的红山茶花护肤品和中国特色山茶花的生物多样性,我们都准备和我尊重的世界强敌作战。”林清轩创始人孙来春在社交媒体如此说道。
创始人如此高调表态,背后究竟是为其品牌发声,还是一种哗众取宠的、民粹主义情绪煽动?
值得注意的是,香奈儿的“山茶花”概念并非只用于白色山茶花。对于山茶花,香奈儿在材质上运用了刺绣、印花、雕刻、褶皱、须边,雪纺、绸缎、乌干纱、斜纹软呢、羽毛等等,在品类上则运用于戒指、胸针、带扣、项链、长项链、腕表和珍珠链、腕表、包袋等。
一级市场宠儿
2020年11月,林清轩完成A轮融资,首轮金额高达数亿元人民币。其中,领投方为海纳亚洲创投基金SIG,碧桂园创投、头头是道基金等机构跟投。
据悉,2021年8月,林清轩完成数亿元B轮融资,本轮融资由未来资产领投,老股东海纳亚洲创投基金SIG、碧桂园创投继续加码,杭州源琛等跟投。此次融资距离A轮不到10个月,且估值增长超3倍。本轮融资资金将用于品牌市场营销、供应链研发、人才建设等。
其中SIG合伙人任剑琼认为,林清轩作为一个化妆品品牌,构建了从原料、研发、生产、销售的全产业链模式,这在市场竞争中有极大优势。碧桂园创投VC业务负责人牟宝璐则认为,林清轩可以被称之为国产高端护肤品类中的代表力量。
参与其A轮融资的机构“头头是道基金”分享了投资观点,文中称“林清轩非常厉害,创造了一个品类,重新去定义标准、供应链、技术及用途,是差异化产品,跟其他产品很好搭配,使用场景多,在功能上还添加了修复、抗氧等功能。”
事实上,精华油不是新品类。日本HABA共有4款美容油,分别是鲨烷美容油、鲨烷美容油(植物型)、美白美容油和辅酶Q10美容液;sisley、娇韵诗,佰草集等品牌则早就有精华油产品。
有业内人士指出,林清轩的这款润肤油既没有创造新品类,也不是差异化的产品。只是2020年在薇娅带货下,突然精华油赛道火了起来。
值得注意的是,孙来春在2021年12月27日在社交媒体发文,“两周前,为WEIYA在2022年的直播合作,准备了近2亿的包材和内料,原本要好好做业绩的,瞬间就崩塌了,电商团队估计这两周就像今晚的我一样,在寒风里无奈的打哆嗦。”
独家配方“清轩萃”违反《广告法》遭市场监管局处罚
尴尬人难免尴尬事。
21Style经过梳理后发现,作为林清轩核心配方的“清轩萃”,于2021年8月曾因违反《广告法》被罚没五万元。
林清轩的一则通稿信息显示,“为了把控产品质量,林清轩汇集国内外30多名植物学、生物学、皮肤医学及应用化学等相关专业硕博科研人员,经历了700多天的不懈探索,最后从山茶花花、叶、籽中提取出活性修护成分,林清轩的独家修护配方“清轩粹”横空出世。”
上海市浦东新区市场监督管理局行政处罚决定书显示,公司旗下于2020年4月份上架的“林清轩山茶花时光修复洁面膏120g”,其包装盒产品特性宣传中提到“富含清轩萃活性修复配方及多种植物萃取精华,氨基酸温和配方,丰富绵软的泡沫,轻柔深入肌理净澈排浊,有效修复肌肤,令肌肤畅享清新柔滑,散发通透光泽”的内容。
同时,去年5月份上架的“林清轩山茶花修复亮彩精华液30ml”同样在包装盒产品特性宣传中表示“富含清轩萃活性修复配方及多种植物萃取精华,轻盈乳液状质地,快速渗透吸收,修复肌肤的同时有效净透美肌,提亮肤色,令肌肤时刻细腻透亮。”
处罚决定书显示,上述两款产品成分中均含有“清轩萃”成分(即山茶花籽油、山茶花和山茶花叶的提取物),依据当事人提供的功效检测报告,在一定条件下,清轩萃具有修复皮肤屏障的功效。皮肤屏障是指皮肤最外层的表皮部分,不能完全等同于皮肤,当事人对上述两款商品的功能表述不准确、不清楚、不明白。
此外,在前述孙来春发布的长文下,有网友指出,(林清轩)过高地估计了自己的品牌地位,被互联网思维给害了。根本不知道也不懂奢侈品牌营运之道,暴露了国货品牌的幼稚和所处的启蒙阶段。
有业内人士对21Style表示,精华油这种产品是具有生命力的护肤产品形式,能够对皮肤能起到正向作用。所以精华油品类的火热会持续很长时间,也会有越来越多的竞争者入局。
(记者高江虹对此文有重要贡献)
更多内容请下载21财经APP
-
- 湖南十大著名景点
-
2025-05-29 04:43:45
-
- 她一天身价缩水80%:瑞幸咖啡创始人钱治亚究竟是一个怎样的人?
-
2025-05-29 04:41:31
-
- 只要你乖给你买条gai,成华这条新晋网红美食gai要不要?
-
2025-05-29 04:39:16
-
- 陕北说书大师张俊功(1)
-
2025-05-29 04:37:01
-
- 三生三世:夜华护着的结魄灯熄灭了,在天宫里谁最担心和谁最开心
-
2025-05-29 04:34:46
-
- 泛海国际——朝阳公园的标杆楼盘
-
2025-05-29 04:32:31
-
- 演员丁勇岱:一锅馒头赢爱妻,相爱36年零绯闻
-
2025-05-28 18:15:15
-
- 4维空间被证实是真实存在的?如果人类进入4维空间,会变成什么
-
2025-05-28 18:13:00
-
- 《火线人物》情兽:红龙重炮,冠军利刃
-
2025-05-28 18:10:45
-
- 湖北省襄阳市下辖各区(县、市)简介及地图分享
-
2025-05-28 18:08:31
-
- 后大运时代|体育+商业=?我们用泰森多边形分析后发现…
-
2025-05-28 18:06:16
-
- 西汉十大酷吏之一的郅都,有着怎样的传奇人生
-
2025-05-28 18:04:01
-
- 磷酸二氢钾使用注意事项:3个建议,8大禁忌
-
2025-05-28 18:01:46
-
- 浙江省东阳市外国语小学:逐梦创建路 书写新篇章
-
2025-05-28 17:59:32
-
- 500道食堂大锅菜荤菜(主菜)炒菜菜单大全,第一章
-
2025-05-28 17:57:17
-
- 全球最贵药再易主!一针350万元,相当于上海房价,何人用得起?
-
2025-05-28 17:55:02
-
- 带你走进二战最后的战场:中俄边境之东宁要塞
-
2025-05-28 11:41:24
-
- 奥斯曼帝国的兴衰荣辱史
-
2025-05-28 11:39:09
-
- 老戏骨方子哥:曾为儿子买婚房被骗400万,“高攀”娇妻恩爱至今
-
2025-05-28 05:14:24
-
- 薛定谔的猫是大家都熟知的,那么薛定谔的爱情观大家了解吗
-
2025-05-28 05:12:09



适合60-80岁老人代步的4种电动车,不限年龄又能上路
76岁退休大妈,连续30年每天一杯沙棘原浆,揭秘沙棘原浆3大谎言